Contents

Since my NDA prohibits me from talking about what I do exactly, this page shares high level details about my Samsung work plus more details about my personal spatial computing work.

The general problem I solve

Spatial computing is an entirely new medium. I figure out how to make it more human.

I create novel interactions and product strategies. I think beyond our current black rectangles. I figure out how to meet or overcome our constraints. I design for moving targets and design for various device capabilities simultaneously.

It’s a new medium and I have a moral duty to help make it a good one. There are few opportunities – if any – in your career to help shape the direction of a new medium. Each new medium presents new opportunities and challenges to humanity. I do what I can to create more opportunities in spatial computing than challenges.

Everything is challenging and ambiguous. While the high-level design principles are the same in spatial computing, there aren’t clear answers for any particular problem. Each decision requires investigation. And, I’ve had to learn new tools to ideate and build spatial products.

XD Immersive talk

A pretty good overview of what I work on and how I think about spatial design

From 2D to 3D product design: a kinda personal journey. (~25min)

First, this talk showed how high level design principles don’t change when working on spatial computing problems (e.g. Neilson’s usability heuristics, Case’s principles of calm technology, Rams’ principles for good design, Maeda’s laws of simplicity).

Second, I walk through the new constraints and a sample critique of an AR mockup.

Lastly, I close with a few pointers on how to transition from 2D design into a 3D design career.

My team

My team is the XR Design Group (XRDG). We work under MPS Lab under Samsung Research America (SRA). Together, we find meaningful ways to build future facing technologies.

Our core team consists of around eight designers and engineers (though we collaborate with teams across Samsung). We all participate in the entire design and development process, but focus on our specialties. Our tight collaboration leads us to better solutions.

I am the most senior product designer, though not the most senior designer (that honor would go to one of the two artist-engineers on our team from the games industry).

My role

And characteristic work

With spatial displays and the proper imaging pipeline, sonograms could look like x-rays.

Sometimes AR examples are limited to things we can already do well on flat devices. My work tries to go beyond these simple examples – into experiences we can only have with spatial computers.

Here’s the process my team usually goes through for a project:

1. Early research

User, design, tech, and market research to understand opportunities and constraints in a space.

User, design, tech, and market research to understand opportunities and constraints in a space.
2. Product concept

Renders and high level documentation to sell the idea internally and to guide the team.

Renders and high level documentation to sell the idea internally and to guide the team.
3. Scoping

Define our MVP while aligning the team. What can be made real? What should be faked? What needs to be tested?

Define our MVP while aligning the team. What can be made real? What should be faked? What needs to be tested?
4. Interaction design

Exploration, definition, and then refinement – each stage with mockups and prototypes, in/validated with user studies.

Exploration, definition, and then refinement – each stage with mockups and prototypes, in/validated with user studies.
5. Presentation

When sharing our work across the company, we create polished decks and demo videos of our prototypes.

When sharing our work across the company, we create polished decks and demo videos of our prototypes.
6. Iteration

We learn something new. Requirements or goals change. We pivot to the next thing.

We learn something new. Requirements or goals change. We pivot to the next thing.

Responsibilities

There are many ways to create bad spatial computing experiences. My responsibility is to figure out what will resonate with users – while guiding and with my team.

Priorities & vision: Through my years of work before and at Samsung, I’ve developed specific principles for what AR and VR can and should be. These guide my decisions and help to set the team’s vision.

I work with my manager to set priorities for the team, arguing for directions that would have the highest returns on investment.

Design & process: I’m still an individual contributor, so I work on ideation, mockups, prototypes, and user research.

I guide the team to produce high quality work from the design side. This means contributions to what we should continue to explore, what’s ready to prototype, which trade offs should be made so we can meet our deadlines, and working with engineering to figure out implementation details.

Documentation: I lead our documentation efforts (writing, editing, crafting the story, presenting). This also makes me a go to person for any of our historical work. Before our switch to a more collaborative tool, I created a custom website to showcase our documentation, design decisions, and ideations.

Presenting & collaborating: I talk about our work to other teams and external partners. I also present to a number of lab heads, VPs, SVPs, Presidents, and once I presented to a group of Korean Congresspeople.

Patents: I’ve produced four+ spatial design patents that are working their way through the USPTO.

Mentoring: I’m there for my teammates when they are thinking through spatial design problems or figuring out how to navigate Samsung.

Exploration for a memory palace.

Exploration for a memory palace.

Concept render for spatialized sonograms.

Concept render for spatialized sonograms.

Look development for a material.

Look development for a material.

Modeling practice.

Modeling practice.

Animating complex materials and microdisplacements.

Animating complex materials and microdisplacements.

Another memory palace exploration.

Another memory palace exploration.

Look development for various materials.

Look development for various materials.

Artistic render, playing with lights and materials.

Artistic render, playing with lights and materials.

<em>Siteless</em> is a book full of abstract architectural forms. I use it for modeling inspiration.

Siteless is a book full of abstract architectural forms. I use it for modeling inspiration.

Look development for virtual paths.

Look development for virtual paths.

Hardware VR project for independently controlled eyes, like in <em>Pan's Labyrinth</em>.

Hardware VR project for independently controlled eyes, like in Pan's Labyrinth.

Video. When a project needed a tent model and I happened to be learning photogrammetry, I captured and processed my tent for use.

Model. The final processed tent.

Tools & skills for spatial prototyping

UX design

  • Maquette, Tvori, Tilt Brush, Blocks, Quill (AR/VR design tools)
  • Sketch, Figma, Adobe Creative Suite, Framer Classic, Procreate (2D design)
  • User research (design, facilitate, analyze)

AR/VR Prototyping, 3D Modeling

  • Blender (modeling, texturing, procedural materials/shaders, 3D VFX compositing)
  • Unity (interactions, MRTK)
  • Depthkit, Meshroom, Polycam, Record3D (volumetric capture, photogrammetry)
  • A-Frame (webVR)

Other

  • Identifying key opportunities through design experimentation and prototyping
  • Design+prototyping team management
  • Video production showcasing XR prototypes and use cases
  • HTML, CSS, JS
  • Familiar with most AR/VR HMDs and their UX patterns

Patents

All while at Samsung Research America
Patent image for Electronic device for communicating in augmented reality and method thereof
2020 / US20210319617A1 / Pending
Electronic device for communicating in augmented reality and method thereof

Interactions for an avatar-based AR chat app.

Patent image for Automatic representation toggling based on depth camera field of view
2020 / US20210407215A1 / Pending
Automatic representation toggling based on depth camera field of view

Dynamically blend between depth video and an avatar in a AR-HMD and depth capture enabled phone system, based on if the user is within the capture volume.

Patent image for System and method for augmented reality interaction
2018 / US20190279407A1 / Granted
System and method for augmented reality interaction

Creating a priority system to manage relative content importance.

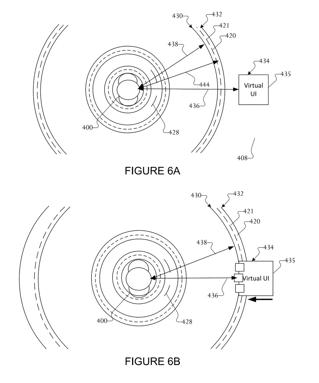
Patent image for System and method for transition boundaries and distance responsive interfaces in augmented and virtual reality
2018 / US20190172262A1 / Granted
System and method for transition boundaries and distance responsive interfaces in augmented and virtual reality

Increased legibility and contextual controls based on user distance from UI. Additional system to prevent rapid toggling when user stands on boundary line.

2020 / US20220005215A1 / Pending

Efficient encoding of depth data across devices

In an AR-HMD and depth-capture-enabled phone system, decrease the depth data that needs to be encoded by using dynamic min-max culling.

2019 / US20200320906A1 / Pending

Mobile device with a foldable display and method of providing user interfaces on the foldable display

Novel interactions to manage multiple open apps/windows, especially for foldable devices.

2019 / US20200202629A1 / Granted

System and method for head mounted device input

Utilizing head or body movement as a discrete or continuous input. Useful in limited contexts for non-primary input.

Other work

For other examples of my spatial computing work, you can look at Humane Virtuality and Moral Decisions & Haptics in VR as well as my sporadic YouTube uploads.